您的當前位置:網站首頁 > 新聞中心 > 行業新聞 > 氧化錫礦選礦工藝的新研究
發布時間:2015-10-20 13:27:37
更新時間:2020-03-30 13:27:37
作者:武永蘭
歡迎
在線咨詢
獲取報價清單及產品資料,賺錢從這里開始、期待您的來廠參觀!
球磨機
我國錫礦資源豐富,多數以氧化錫的形式存在,因此研究與探討氧化錫的選礦工藝具有非常重要的意義。但是現行的氧化錫選礦工藝仍存在很多問題,某氧化錫選礦廠通過分析原因,另設計了一套較合理的工藝流程,供大家學習參考。

現行選礦工藝存在的問題是多方面的,根本的是磨礦,其他方面的問題,例如粗、細中礦相混、不同粒度的礦粒群在選別過程中的互相干擾等,在一定程度上都取決于磨礦效果,磨礦效果好,這些問題都會得到相應的減輕。
.jpg)
磨礦的目的是,在保證主要目的礦物少過磨的前提下,得到充分的單體解離,而且較為理想的是,單體錫石大部分集中于74~37微米級。目前氧化錫礦選廠的磨礦作業,磨不細與過磨細同時存在,以磨不細為主,+74微米的結合體,其錫分布占原礦錫的3.93%~8.17%,過磨細的新生-10微米,其錫分布占原礦錫的2.02%~4.79%。從而不同程度地影響了精礦中錫的回收率,造成這種情況的根本原因是:
氧化錫礦中的錫石,按其嵌布特征可大體分為兩部分,一部分嵌布在比重較大的鐵礦物中,一般粒度較細比較難磨,即使細磨也難使其充分單體解離;一部分嵌布在比重較輕的脈石礦物中,一般粒度較粗較易磨。
現行磨礦流程,沒有按難易分別入磨,因而不能兩者兼顧,該磨細的磨不細,不該磨細的卻磨得過細,這種情況不利于后面的分級脫泥,以至分級脫泥環節多,工藝流程復雜,進而影響各選別段的作業回收率。若根據錫石嵌布特征、回收的難易分支處理,錫回收率會得到較大的提高。
根據氧化錫礦的礦石特征,以及現行選礦工藝流程存在的問題,結合多年來國內外的科研單位,該選礦廠對氧化錫礦選礦工藝流程及新設備的研究成果,進行綜合分析研究后認為:氧化錫礦較合理的選礦工藝流程應為:
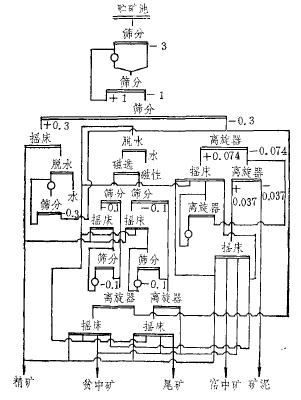
1、原礦水采水運,貯礦池放礦的選廠,根據現場多年的實踐經驗,放入選廠的礦石很難保證數量和粒度組成的均勻,波動幅度較大,預先磁選無法正常操作,實踐證明上述砂礦流程不能適應,可改為如圖1的流程。

圖1
2、磨礦系統均把預先篩分和檢查篩分合而為一,并根據篩分設備的成熟情況,盡量使用篩分設備。-0.2毫米的礦漿用離旋器進行分級。
3、使用單支狀流程,礦砂系統按各段磨礦的粒度分為1~0.3、0.3~0.074、0.074~0.037粒級,分別使用分配器,分到同類型搖床選別。
4、砂礦系統各段選別之前,貫徹難易分別磨選,均采用預先磁選,分成磁性與非磁性部分,再分別用搖床選別,搖床中礦也分別入磨。
5、泥礦系統,用離旋器脫出-5微米后,先浮選產出低品位精礦,再重選產出精礦和富中礦。
6、貯礦池放礦的殘坡積砂礦,仍繼續使用次精礦集中復洗,為貫徹難易分選預先引入磁選,磁性部分和非磁性部分,分別單獨處理,并產出貧中礦。
該選礦廠將研究出的新工藝很快運用到了實際生產中,實踐證明,新工藝磨礦效果好,原存在的問題也得到了改善,錫礦的回收率也有了較大的提升,可見,新工藝較合理,值得推廣。
上一篇:粗鋇生產及回轉窯尾氣處理工藝
下一篇:鉬礦石的選礦工藝改進實踐
![]()
![]()
在線留言想了解價格?產量?型號?售后?請留言,我們第一時間為您回復